What is that blade for?
My guess is that the blade is connected to the handle on the bottom, to push the tobacco out, and with a little twist it would cut the cake out of the pipe at the same time.
Did my guess win anything?
What is that blade for?
:
SUMMARY OF THE INVENTION
The present invention is designed to overcome both the difficulties encountered in the conventional pipe smoking arrangement and the infirmities discovered with prior capsule systems.
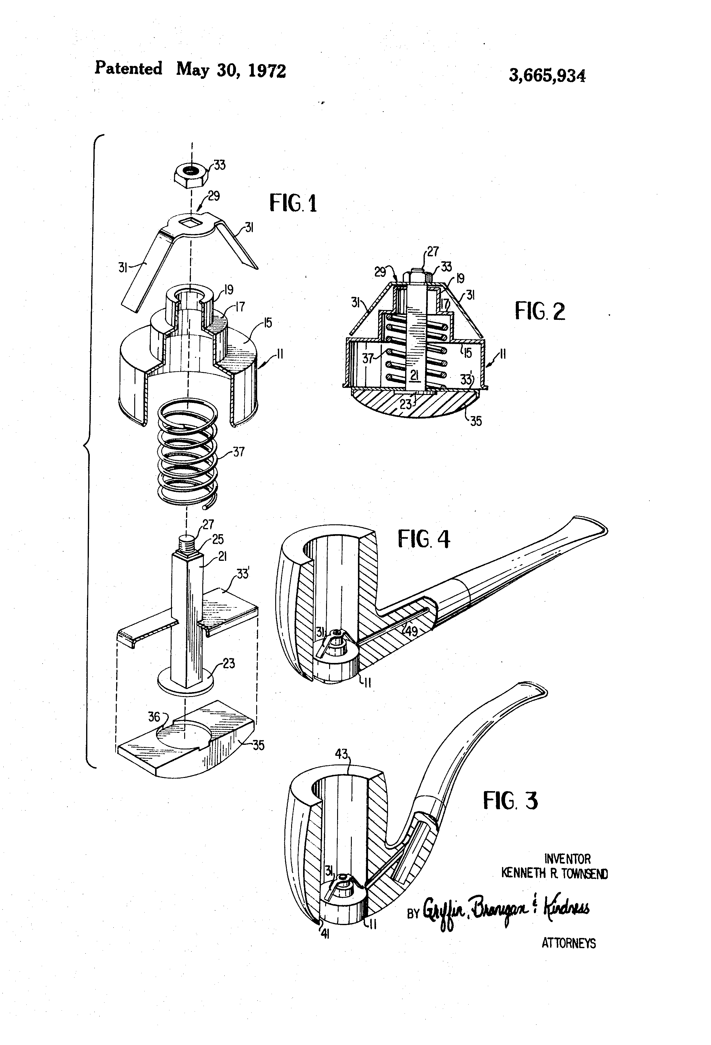
In accordance with one aspect of the present invention there may be provided a disposable tobacco capsule that is prepacked by machine. Each capsule may, if desired, have its own built-in filter. The tobacco may be corectly packaged for steady burning and the density of the tobacco may be controlled in the factory packaging techniques. Each capsule may be encased in an aluminum foil sheath, or the like, and is formed to a standard size which will fit all pipes manufactured for the system. A typical capsule, for example, might be 1 3/8 inches long, 1 1/8 inches high, and 3/8 inches wide. The capsule is adapted for insertion into a specially designed pipe bowl and may have the top opened by pulling a zip-off tab. On termination of smoking, the foil sheath and its filter with the trapped residue may be readily lifted from the bowl and disposed of, leaving the pipe in clean condition. A plurality of such capsules may be packaged in a single convenient slim pack, which could, in turn, be stored without bulkiness in clothing pockets.
